29/11/18

Microsoft có bằng sáng chế camera độc đáo cho thiết bị gập lại

Một bằng sáng chế mới vừa được phát hiện bởi Windows Latest, cho thấy một số chi tiết mới về những gì có thể đến với chiếc điện thoại gập lại của Microsoft.

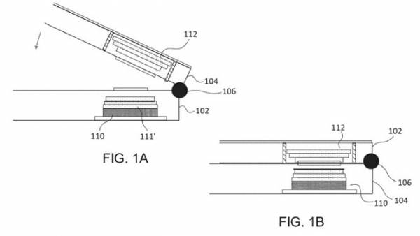
Nội dung mô tả trong bằng sáng chế mà Microsoft vừa được cấp ẢNH: USPTO
Nội dung mô tả trong bằng sáng chế mà Microsoft vừa được cấp ẢNH: USPTO

Theo Neowin, Microsoft được cho là đang phát triển thiết bị gập lại (được biết đến với tên Andromeda) với rất nhiều bằng sáng chế liên quan xuất hiện trong thời gian qua. Giờ đây thêm một bằng sáng chế mới dường như gợi ý về hệ thống camera độc đáo mà Microsoft có thể mang đến thiết bị.

Nội dung bằng sáng chế mới cho thấy một cơ chế trong đó camera của thiết bị được chia thành hai phần, với mỗi phần được đặt trên mỗi nửa thiết bị. Khi thiết bị được gập lại, hai máy ảnh sẽ được xếp chồng lên nhau và cung cấp một số tính năng nhất định, chẳng hạn như lấy nét bổ sung.

Khi thiết bị được mở ra, mỗi bộ phận camera có thể nhô ra khỏi điện thoại. Thông qua một bộ phận tiếp xúc, nó sẽ điều chỉnh vị trí hai phần máy ảnh để giảm lỗi nghiêng khi căn chỉnh. Điều này có thể được thực hiện nhờ lực từ di chuyển một phần máy ảnh vào vị trí mà ở đó đảm bảo chúng được xếp thẳng hàng.

Dựa vào những bằng sáng chế trước đó, thiết kế cuối cùng dành cho Andromeda vẫn còn là dấu chấm hỏi, bao gồm màn hình uốn dẻo cho đến 3 màn hình. Quan trọng nhất, không rõ khi nào thiết bị sẽ được ra mắt thị trường. Trong khi đó Samsung dường như đang chuẩn bị cho việc phát hành một chiếc điện thoại có thể gập lại vào năm sau.

» Thượng nghị sĩ Mỹ muốn điều tra hoạt động của ZTE ở Venezuela
» Huawei đối mặt với những rào cản mang tính toàn cầu